23+ Euro Pro Serger 534Dx


Euro Pro 534dx Serger Sewing Machine For Sale In Saint Petersburg Fl Offerup


Europro 534dx Serger Runs But Needs Cleaning Read Description Ebay


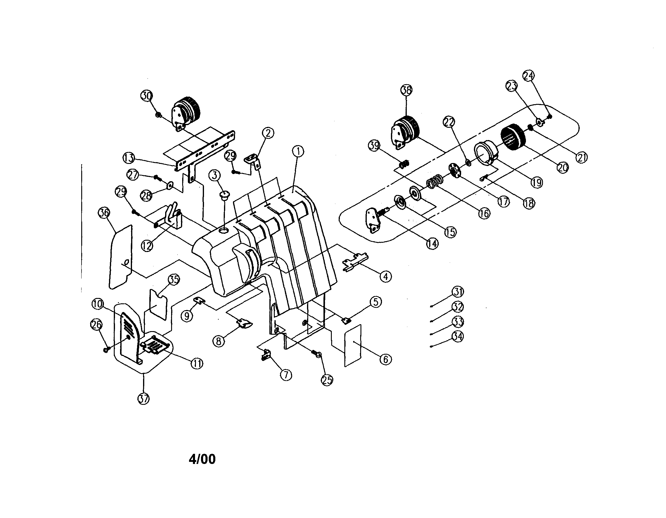
Official Euro Pro 534dx Mechanical Sewing Machine Parts Sears Partsdirect


Euro Pro Serger


Euro Pro 14533 534dx Sewing Machine Instruction Manual


Euro Pro Instruction Manuals


Euro Pro Serger


Euro Pro Serger


Europro Shark Manual I Fix Machines


Fabric Sewing Machine Pattern Buy And Sale


Euro Pro 534dx Serger Sewing Machine For Sale In Saint Petersburg Fl Offerup


Euro Pro Serger


Europro 534dx Serger Runs But Needs Cleaning Read Description Ebay


Official Euro Pro 534dx Mechanical Sewing Machine Parts Sears Partsdirect


Europro 534dx Serger Runs But Needs Cleaning Read Description Ebay


Euro Pro Instruction Manuals


Euro Pro Instruction Manuals Sewing Parts Online


Fixed Chaining Tongue Singer B10311000 Sewing Parts Online

Iklan Atas Artikel

Iklan Tengah Artikel 1

Iklan Tengah Artikel 2

Iklan Bawah Artikel